RIGGING FACTORY PROFESSIONAL FORGING PRODUCTS -
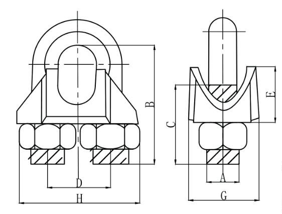
RIGGING HARDWARE US TYPE MALLEABLE WIRE ROPE CLIP
● STANDARD:US STANDARD
● MATERIAL:BODY-MALLEABLE STEEL,U BOLT-Q235 CARBON STEEL
● TECHNOLOGY:CASTING
● SURFACE FINISH:ZINC PLATED
★ WARNING : NEVER EXCEED WORKING LOAD LIMIT
 
				 
                     
												
